Foundry Material
Handling Systems

Foundry Material Handling Systems

We provide a comprehensive range of solutions and services within the foundry industry, leveraging a profile enriched with elements of design, engineering, manufacture, and supply of various foundry systems and equipment. Our product portfolio includes pneumatic conveying systems, bucket elevators, screw conveyors, diverter and dome-shaped valves, and much more.

Our credibility and proficiency are rooted in more than two decades of supplying top-tier pneumatic conveying systems to leading foundries across India. Our engineering team is deeply committed to delivering superior and high-efficiency systems to our valued clientele.

In the foundry industry, we handle a diverse array of materials, including but not limited to:

  • Silica sand
  • Reclaimed or regenerated sand
  • Bentonite
  • Coal dust
  • Chromite
  • Quartz
  • Ceramic
  • Pitch powder
  • Additive powders

Moreover, we have joined hands with KLEIN ANLAGENBAU AG, a German company renowned for being an international system supplier offering turnkey solutions in the foundry sector. Their robust experience of over 40 years further strengthens our foundry equipment range.

Types

Our product range includes –
  • Pneumatic Conveying Systems
  • Core Sand Systems
  • Sand Reclamation Systems

1. Pneumatic Conveying Systems

Dense Phase Pressure Vessel with bottom fluidization Conveyor

This is the conventional type of conveying system also known as dense phase system which uses compressed air at high pressure & low velocity for conveying. It is used to convey dry, granular and free flowing bulk materials. Flow takes place in cycles, alternating between filing and conveying from the pressure vessel. Compressed air pushes the material from the vessel through conveying pipe to the destination point.

Advantages:

  • Easy to maintain
  • Low wear and maintenance (No moving parts come into contact with material to be conveyed)
  • Low air consumption
  • Economical
Foundry material handling system
Klien SP-HL Conveyor

The KLEIN pressure vessel conveyor SP-HL was conceived for the continuous conveying of dry, granular, and pourable bulk material such as silica sand and similar products. The Klein SP-HL vessel is a totally unique pneumatic conveyor designed to pressure dense convey granular products up to 500 feet (150 meters) at a low velocity (100 – 400 ft/min | 0.5 – 2 m/s). A completely unique two- part pressure vessel inserts slugs of material into the line for continuous movement. A smooth and continuous conveying process is ensured by extremely short filing cycles and constant air injection into conveying line.

The advantages of the SP-HL in contrast to conventional conveyors, in which the conveying process is interrupted in order to decrease the conveying pressure and refill the pressure vessel are:

  • Up to 45 % reduction in compressed air compared to other “Dense Phase” Conveyors
  • Low Energy / Low Compressed Air Usage
  • Minimal Pipeline Wear
  • Minimal Product Degradation
  • Compact design
  • Less air wastage and less strain on the filter
  • Low maintenance, less expenditure
  • Excellent accessibility of wearing parts
  • Air-flushed cone valve

Applications Include:

  • Foundry Sand Conveying
  • Abrasive Granular Material Conveying
  • Granular products greater than 80 ASF in size
  • Ceramic and Glass beads

2. Core Sand Mixing Systems

Core Sand Mixing Systems

State of the art core production demands mixers with optimum mixing intensity, high mixing performance, low binder consumption as well as low cleaning and maintenance requirements.

STATORMIX is known for:

  • High mixing intensity
  • Mixing rate matched to the core demand
  • Partial batches can be processed without loss in quality
  • Minimum adherence of residues to the mixer interior
  • Triple stage cleaning concept
  • Freely accessible mixer interior
  • Lowest wear
  • Only negligible sand residues in the mixer after discharge
  • Low energy consumption
  • No heating up of the sand
  • No loss of solvents
  • Optimized for inorganic binders

STATORMIX Facts

The core sand mixer STATORMIX, with its vertical mixing drum, employs a proven and efficient mixing technique that ensures high quality, thorough mixing of the sand. This high mixing efficiency is achieved by forcing the sand through two mixing chambers separated by a ‘stator’.

The special technology used in the manufacture of the mixer interior results in highly abrasion- resistant mixer lining and mixing tools with exceptionally long-life expectancy even in three-shift operation. The lining segments as well as the mixing tools can be replaced individually.

The hinged mixer front cover can be opened and moved to the side making the complete mixing drum freely accessible.

The mixing tools can be removed after releasing a bolt. Once removed, they can easily be cleaned outside of the mixer such as in a blasting chamber.

After the mixing cycle is finished, the sand is completely discharged from the mixer. Almost no sand remains in the mixing drum. Different batches of sand can thus be treated in sequence without mixing up the different kinds.

Self-cleaning mechanism

  • Thanks to the shape of the mixing tool each spot in the mixing drum is reached and thus kept clean
  • Two integral air nozzle systems remove the sand residues from the interior surface of the mixing drum and the rotating mixing tools
  • After each mixing cycle, eventual adherences can be removed from the mixing drum and the mixing tools by cleaning dry sand
Core Sand Mixing Technology - Distribution Systems

In order to supply several core shooting machines with prepared core sand, different kinds of distribution systems can be employed, depending on the conditions at site:

  • Distribution vehicles on tracks
  • Suspended monorail systems
  • Distribution vehicle with linear actuation
Core Sand Mixing Technology - Binder Dosing Systems

KLEIN bellow dosing equipment was developed for use with chemical binders for foundry sands. The design is simple and robust.

Principle components:

  • stainless steel bellows
  • welded flange connections on both ends
  • the seals do not come into contact with any binder
  • operated by normal compressed air
  • suction spring-actuated

Features:

  • Volumetric dosing independent of binder viscosity
  • guaranteed repetitive accuracy +/- 0.5 %
  • The bellow dosing equipment is maintenance-free
  • The desired dosing volume is easily adjustable by:
    a) Manually infinitely adjustable set screw
    b) selection of two binder quantities using selector switches
    c) infinite adjustment of dosed quantity

Binder dosing and distribution systems:

Custom-made binder storage systems (storage tanks, container, pumping stations etc.) and supply systems for day tanks, core sand mixers etc. for all current binder systems can be designed and manufactured.

3. Sand Reclamation Systems

A KLEIN solution for every requirement

From the aspect of economy and environmental protection, used sand reclamation in foundries is of major importance. From decades of experience in the construction of sand reclamation systems and practice-orientated proceeding, KLEIN offers a solution for any requirement, including, but not restricted to:

  • shake-out equipment with dust and sound insulation
  • vibration crushers in various executions
  • sand coolers and sifters
  • secondary attrition units to improve the sand quality (reduction of LOI)
Reclamation Technology - Spiral Vibration Crusher

KLEIN spiral vibration crusher combines several functions of a resin-bound sand reclamation plant, such as:

  • lump crushing
  • metal and foreign matter separation
  • sand screening and removal of oversized grains

Advantages

  • Intensive though careful friction which minimizes wear of the individual silica grains ensuring excellent sand quality
  • Compact design
  • No need for deep pits as the sand is conveyed to the top of the crusher through the outside spiral
  • Shake-out grid can be installed on top
  • Low investment
  • Low energy consumption
  • No moving parts in the crusher chamber

Functioning Process:

The moulding boxes are emptied on a shake-out grid. The crushed sand lumps and the loose sand are fed into the crushing chamber. The three-dimensional screwing movement of the spiral crusher guarantees an extremely intensive friction of the sand lumps, but at the same time careful treatment of the sand grains. Over a screen at the bottom of the crusher the sand gets into the outer spiral. On a fine screen segment in the outer spiral, sand and oversize grains are separated and automatically discharged respectively and transported upwards for sand delivery. For further treatment of the remaining oversize grains, automatic return is possible.

Reclamation Technology - Fluid-Bed Cooler-Sifter

The FKS fluid-bed cooler-sifter is an installation for the treatment of dry silica sand. The sand is cooled down to processing temperature and thoroughly de-dusted to reach an excellent quality level. The FKS is particularly distinguished by:

  • simple and reliable operation
  • compact design
  • an energy-saving economic concept

Design:

The fluid-bed cooler-sifter is fitted with baffle-plates arranged at right angles to the longitudinal walls of the housing and forcing the sand to flow alternately over and under the plates. The resulting spaces, the so-called chambers, house the heat exchangers through which cooling water is circulated. The bottom of the housing is permeable to air but not to sand.

Functioning

While hot sand is fed into the FKS through the inlet, air produced by a fan is blown through its air- permeable bottom. This procedure fluidizes the sand, allowing it to flow freely and to behave like a liquid in communicating tubes. The fluid bed is filled to a controlled maximum level before the sand leaves the FKS again at the discharge end. While the sand flows through the individual chambers it passes along and is cooled by the integrated heat exchangers. At the outlet, the thermostat monitors the sand outlet temperature. In this process, the dust contained in the sand is expelled by the fluidizing air. The dust is then evacuated into the dust separation filter through a dust gas line.

Reclamation Technology - Reflux Cooler

The reflux cooler is especially suitable for granular free flowing bulk materials, as it is a contact cooler. The material to be cooled slowly flows along the water-cooled cooling faces in a counter current manner. Water does not come in contact with the bulk material.

The special design of the contact areas between the cooling segments and the cooling spirals ensures that a high degree of heat exchange is achieved. A constant temperature of the cooled bulk material is achieved by automatically controlling the flow of cooling water.The reflux cooler can also be used to heat free flowing bulk material.

Operation

Single-stage cooling

The material to be cooled runs out of a hopper via a charging box (1) and a sieve (3) into the cooling packet (4). Below the cooling packet there is a stationary part (5) and below it is the adjustable part of the dosage closure (6). This closure is adjusted depending on the required cooling capacity and it ensures that the material will pass through the cooling packet (4) equally distributed over the whole cross section of the cooler and at the prescribed speed. The material passing through is collected in the discharging hopper (7). Between the cooling packet (4) and the dosage closure (5) a thermostat (8) is installed which regulates the temperature of the bulk material via the cooling-water control valve (9). The contacting thermometer (10) only reacts if the max. Required temperature of the cooled bulk material is exceeded. In this case the cooler outlet is closed and/or an optical or acoustic sign is given.

Double-stage cooling

In this case, the cooling packet is provided with water by two separate cooling water circuits. By means of a special circuit of water the peak temperatures of the bulk material are cooled down. The second water circuit with its regulation operates just like the one-stage cooling. However, an indicating thermometer substitutes the contacting thermometer.

Reclamation Unit Rotareg

Cold resin bonded sands (No-Bake) are mechanically reclaimable. A large proportion of the sand which has been reclaimed using the conventional type of single-phase mechanical reclamation unit can be re-used.

The used sand portion of the moulding sand can be considerably increased and the new sand requirement correspondingly is reduced by the installation of a second reclamation unit.

Lower new sand costs! Lower dumping costs! Lower transport costs!

The ROTAREG reclamation unit is intended for such applications and is particularly suitable as an addition to existing single-phase plants

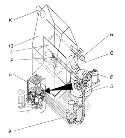
The reclamation unit ROTAREG consists of the following parts:

  • centrifugal cleaner (1)
  • pneumatic conveyor (2)
  • fluid bed screen (3)

Functioning

In the centrifugal cleaner the incoming sand stream from direction (E) is thrown upwards against the pockets of the stator ring which are filled with sand. The resulting friction of the sand grains against each other causes part of the binder coatings to be rubbed off. The speed of the rotor is chosen so that the sand grains are mainly affected by friction and only slightly by impact. Machine parts which come into contact with the sand are manufactured from materials which have a very good resistance to wear.

The pneumatic conveyor transports the sand from the centrifugal cleaner upwards to the fluid bed screen.

In the fluid bed screen, the particles which were rubbed off are detached from the sand by a rising air flow. The sand enters the screen (F) and leaves at the discharge point (G) or (H). The fine parts are extracted at point (K) together with the discharged air. A short circuit is prevented by a perforated middle wall (L). If required, cooling pipes can be installed in the fluid bed screen.

By alternate use of the two discharge points (G) and (H), it is possible to process the sand once or multiple times.

Features
  • Material Handling Expertise: Specializes in handling a range of foundry materials, including silica sand, bentonite, chromite, and more.
  • International Collaboration: Partnership with KLEIN ANLAGENBAU AG of Germany, a global leader in the foundry sector with over 40 years of experience.
  • Quality Assurance: A commitment to excellence and collaboration with leading names guarantees top-notch quality in all offerings.
  • Innovative Design & Engineering: Modern design and robust engineering are hallmarks of RIECO products, ensuring durability and efficiency.
  • Custom Solutions: Tailored solutions to cater to unique needs of different foundries.
  • Global Standards: Collaborations with international entities like KLEIN ensure adherence to global industry benchmarks.
  • Turnkey Solutions: Expertise in handling and offering solutions for Silica sand, Coal dust, and bentonite.
  • High-Quality Castings: Achieving premium quality in all casting products.
  • Efficient Conveying: Minimized fine generation during the conveying process to ensure material integrity.
  • Durable Systems: With fewer moving parts, RIECO's systems are designed for longevity, which also reduces maintenance needs.
  • Dust-Free Operations: RIECO's systems operate with minimal dust emissions, ensuring a cleaner work environment.
  • Optimized Air Consumption: Systems are engineered for efficient air usage, ensuring cost and energy savings.
  • Comprehensive Solutions: RIECO Industries Ltd. provides an all-encompassing range of solutions and services tailored for the foundry industry.
  • Diverse Product Portfolio: From pneumatic conveying systems, bucket elevators, and screw conveyors to diverter and dome-shaped valves, RIECO caters to a broad spectrum of foundry needs.
  • Experience: Over two decades of service positions RIECO as a trusted supplier for major foundries in India.
  • Dedicated Engineering Team: RIECO's team of engineers ensures high-performance, efficient, and tailor-made systems for clients.
Silica sand
Reclaimed or regenerated sand
Bentonite
Coal dust
Chromite
Quartz
Ceramic
Pitch powder
Additive powders

Why Rieco?

As your global partner, we fully immerse ourselves
in your process challenges.
48 +
Years of Experience
40 +
Countries
6000 +
Successful Installations
300 +
Strong Team
5 +
Global Partnerships
3
Manufacturing Facilities

Global Presence

We’re there for you

Canada
Usa
West Indies
Uruguay
United Kingdom
Spain
Germany
Croatia
Italy
Nigeria
Ghana
Egypt
Sudan
Brazil
Lebanon
Saudi Arabia
Ethiopia
Kuwait
UAE
Oman
Kenya
Mozambique
india
Nepal
Bangladesh
Sri Lanka
Pakistan
Russia
Singapore
Malaysia
Cambodia
Thailand
Indonesia
Philippines
Taiwan
Japan
Feel free to ask us anything you have in mind,
we are happy to answer
Enquire Now
Back to Top
Enquire Now
X

Enquire Now